用户名
UID
Email
密码
记住
立即注册
找回密码
只需一步,快速开始
微信扫一扫,快速登录
开启辅助访问
收藏本站
快捷导航
门户
Portal
社区
资讯
会议
市场
产品
问答
数据
专题
帮助
签到
每日签到
企业联盟
人才基地
独立实验室
产业园区
投资机构
检验科
招标动态
供给发布
同行交流
悬赏任务
共享资源
VIP资源
百科词条
互动话题
导读
动态
广播
淘贴
法规政策
市场营销
创业投资
会议信息
企业新闻
新品介绍
体系交流
注册交流
临床交流
同行交流
技术杂谈
检验杂谈
今日桔说
共享资源
VIP专区
企业联盟
投资机构
产业园区
业务合作
投稿通道
升级会员
联系我们
搜索
搜索
本版
文章
帖子
用户
小桔灯网
»
社区
›
A、行业资讯区
›
业界动态
›
第三批优秀国产体外诊断设备发布,花落谁家? ...
图文播报
2025庆【网站十二周
2024庆中秋、迎国庆
2024庆【网站十一周
2023庆【网站十周年
2022庆【网站九周年
2021庆中秋、迎国庆
返回列表
查看:
9095
|
回复:
0
[协会动态]
第三批优秀国产体外诊断设备发布,花落谁家?
[复制链接]
幸福侠侣
幸福侠侣
当前离线
金桔
金币
威望
贡献
回帖
0
精华
在线时间
小时
雷达卡
发表于 2017-3-21 23:19
|
显示全部楼层
|
阅读模式
登陆有奖并可浏览互动!
您需要
登录
才可以下载或查看,没有账号?
立即注册
×
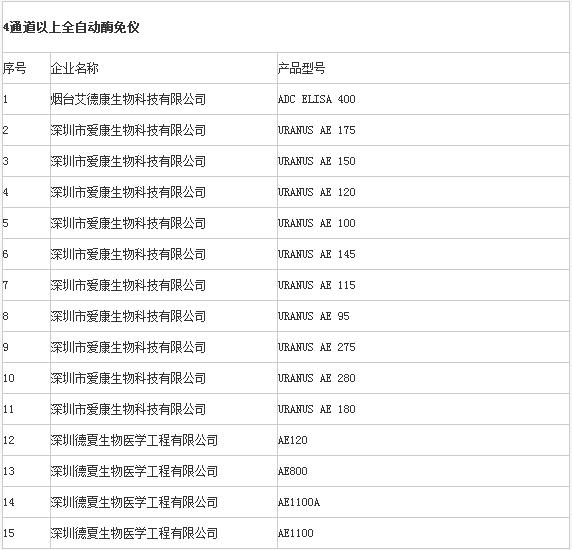
中国医学装备协会于2016年开展了化学发光免疫分析仪、全自动酶免仪、等十个品目的优秀国产医疗设备遴选工作。第三批优秀体外诊断设备遴选结果日前予以发布。
来源:小桔灯网整理
楼主热帖
小桔灯网业务合作须知!
如何注册小桔灯网VIP会员?
质朴智研周报|质谱仪市场全球动态(2025年6月28日-2025年7月4日)
[
质谱技术
]
【CAP学员考试心声】从经验驱动到体系防御的专业跃迁
[
CAP认证
]
选择在深圳技术大学念书你后悔吗?
[
同行交流
]
健身房体测仪 人体成分分析仪哪款性价比最高?
[
特定蛋白分析
]
核酸抽提试剂盒哪家强?
[
核酸提取
]
IVD上市董事长,困在刑事案里!
[
同行交流
]
微生物常见检测方法大全,你了解多少?
[
微生物检验
]
我国病理诊断行业正处于黄金发展期,市场需求持续增长,技术不断进步
[
病理检验
]
回复
使用道具
举报
提升卡
返回列表
发表回复
高级模式
B
Color
Image
Link
Quote
Code
Smilies
您需要登录后才可以回帖
登录
|
立即注册
本版积分规则
发表回复
回帖后跳转到最后一页
浏览过的版块
科技前沿
科学研究
检验资讯
精彩活动
招标动态
NMPA注册
关闭
官方推荐
/3
【扫描左侧二维码关注微信】参与交流!
网站定期开展行业相关话题互动交流活动!对认真参与讨论的桔友将有金桔奖励!欢迎参与。
查看 »
IVD业界薪资调查(月薪/税前)
长期活动,投票后可见结果!看看咱们这个行业个人的前景如何。请热爱行业的桔友们积极参与!
查看 »
小桔灯网视频号开通了!
扫描二维码,关注视频号!
查看 »
返回顶部
快速回复
返回列表
客服中心
搜索
官方QQ群
洽谈合作
关注微信
微信扫一扫关注本站公众号
个人中心
个人中心
登录或注册
业务合作
-
投稿通道
-
友链申请
-
手机版
-
联系我们
-
免责声明
-
返回首页
Copyright © 2008-2024
小桔灯网
(https://www.iivd.net) 版权所有 All Rights Reserved.
免责声明: 本网不承担任何由内容提供商提供的信息所引起的争议和法律责任。
Powered by
Discuz!
X3.5 技术支持:
宇翼科技
浙ICP备18026348号-2
浙公网安备33010802005999号
快速回复
返回顶部
返回列表