立即注册找回密码

QQ登录

只需一步,快速开始

微信登录

微信扫一扫,快速登录

搜索
小桔灯网 门户 资讯中心 技术杂谈 查看内容

测序两巨头纷纷进入测序芯片的纳米压印制造

2023-7-9 12:49| 编辑: 小桔灯网| 查看: 3732| 评论: 0|来源: 我是建设者

摘要: 需要先来解释一下什么是纳米压印相信很多人在不同的场合都已经了解到了光刻机、ASML、EUV极紫外光刻、芯片制造这些相关背景。

感谢本号读者的提醒,关注到华大智造近日发布了一则招标公告,欲采购纳米压印设备。

需要先来解释一下什么是纳米压印

相信很多人在不同的场合都已经了解到了光刻机、ASMLEUV极紫外光刻、芯片制造这些相关背景。随着高端光刻机的进步,摩尔定律才得到了延续。同样,高端光刻机产能有限,面对芯片战略的地缘政治,业界都开始探索其他的高端芯片生产工艺。纳米压印技术(Nanoimprint Lithography, NIL)就不断走到了台前。

纳米压印本质上就是一种微纳加工工艺,经过20多年的发展,技术逐渐成熟,从实验室走向了生产线。纳米压印已经作为量产设备应用在衍射光学器件、AR眼镜、3D传感器、生物芯片的制造过程中。

简单理解,纳米压印就像盖章或者木版画一样,把规则图形刻到印章(掩膜)上,再将印章盖在橡皮泥(压印胶)上,实现图形转移后,然后通过热或者UV光照的方法使转移的图形固化,以完成微纳加工的刻板印制步骤。

纳米压印技术示意图

纳米压印的分辨率由所用印模板图形的大小决定,物理上没有光刻中的光源波长、光学衍射的限制和影响,因此,纳米压印技术可以实现纳米级线宽的图形。与传统的光刻技术相比,纳米压印技术也不需要复杂的光路系统和昂贵的光源。同时,纳米压印技术只要预先在掩膜上制作好图形,即使是复杂结构也能一次性形成,避免了传统光刻工艺中的多次重复曝光。

由此可见,在芯片制造中引入的使用纳米压印的很重要一个优势就是大幅降低了芯片制造成本。

纳米压印用于测序芯片制造已经不是稀罕事儿了

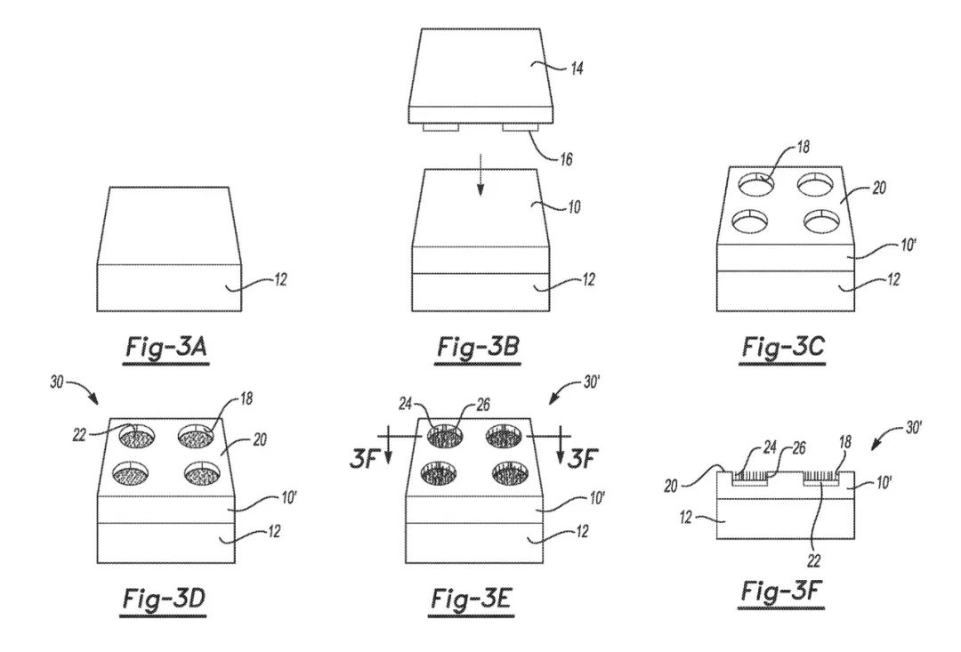
测序龙头IlluminaHiSeq之后的很多主流机型中都使用了规则图案化的流通池(Patterned Flow Cell)。图案化流动池在表面固定位置包含数十亿到数百亿个纳米井状结构,提供均匀的测序簇间距和均匀的特征尺寸。结构化的组织使得簇生成只能在纳米井中,使得流动池不易过载,并且更能耐受更广泛的文库密度。精确的纳米井定位消除了绘制簇位点的需要,节省了每次测序运行的时间。而更高的簇密度可以使每个流动槽获得更多可用数据,从而降低每Gb成本。这相比非图案化随机簇生成具有显着优势。

Illumina的流通池是使用玻璃基材,将图案化的纳米井蚀刻到玻璃表面。但为了推动测序通量的指数级提升,并持续降低测序成本,Illumina就需要借助半导体制造工艺来打破这一边界。在2021年初的JPM大会上,Illumina就宣布采用了纳米压印的技术实现了单位面积内纳米井密度的5倍提升,使得使用300mm晶圆可以制造多一倍的流通池,这样可以将流通池的COGS降低 90%。但从Illumina展示的影像来看,在这里使用的依然是玻璃基板。

来源于Illumina 2021 JPM presentation

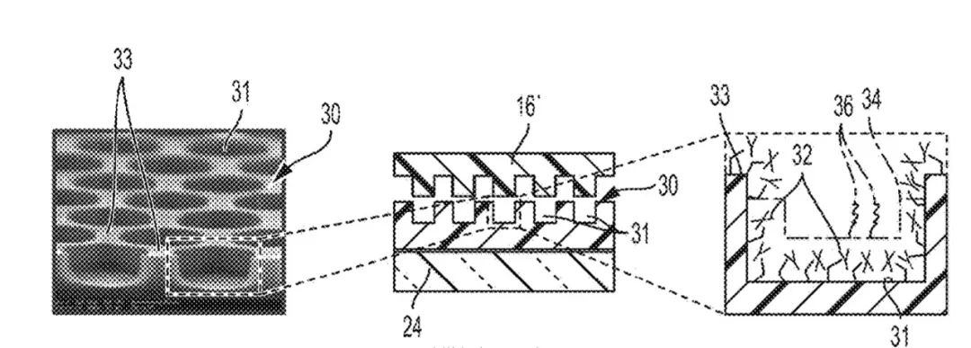
最终,对纳米井的内部进行亲水修饰,而井的其余部分是疏水的,允许在亲水部分添加DNA或聚合酶,用于捕获制备好的 DNA 模版链,进行簇生成和扩增。而纳米井之间的区域则没有 DNA 附着。

来源于专利WO2022173697A1

去年秋天,Illumina推出了下一代的旗舰机型NovaSeq X系列,它的流通槽比NovaSeq 6000 更小,但输出却是 NovaSeq 6000 3 ,也就是说可以在相同的表面区域的纳米井阵列密度高出3倍。不止于此,Illumina还将纳米压印制造工艺转移到了内部,自建了产能,以降低外包生产相应的成本,保证相应的规模和供应,同时能获得对流程的更多控制。从核苷酸到实际的半导体晶圆加工,在英国、新加坡或是圣地亚哥,Illumina都实现了内部生产。

来源于专利WO2022173697A1

纳米井阵列结构对于纳米压印技术来说并不复杂,可以充分发挥其大批量重复制造的优势,最终实现制造成本的显著降低,从而能在日益激烈的竞争中保持相应的利润。

华大智造采购纳米压印设备做什么

作为Illumina的老对手及最强劲的对手,虽然是DNBSEQ的簇生成方式与Illumina截然不同,但在测序实现上,华大智造也使用了规则阵列芯片 (Patterned Array)”的测序芯片。

通过半导体精密加工,在硅片表面形成结合位点阵列,实现DNA纳米球的规则排列吸附。阵列芯片修饰位点的间距均一,每个位点只固定一个DNB,可保证不同纳米球的光信号不会互相干扰。

沿着上述对于纳米压印及Illumina的实践案例分析,华大智造采购纳米压印设备,大概率也是用于规则阵列芯片的制造。

据深圳市微纳制造产业发展促进会的说法,华大智造在2021年已经开始了纳米压印相关技术的研发。而此次华大智造采购纳米压印设备,应该已经完成了对于纳米压印技术的调研、设计和验证,预计即将进到导入量产的阶段。纳米压印技术预计将会逐渐拓展到华大智造新产品的布局和制造中。

看来,对于新技术、新工艺,行业巨头们从来都不会缺席。

以上。理解有限,欢迎相关的技术大拿们批评指正补充。

参考:
https://baijiahao.baidu.com/s?id=1765690225941345543
https://aseq.substack.com/p/illuminas-nano-imprinted-flowcells
https://mp.weixin.qq.com/s/izPJHuZeZ-3Nku4aMK_dKw

声明:
1、凡本网注明“来源:小桔灯网”的所有作品,均为本网合法拥有版权或有权使用的作品,转载需联系授权。
2、凡本网注明“来源:XXX(非小桔灯网)”的作品,均转载自其它媒体,转载目的在于传递更多信息,并不代表本网赞同其观点和对其真实性负责。其版权归原作者所有,如有侵权请联系删除。
3、所有再转载者需自行获得原作者授权并注明来源。

最新评论

关闭

官方推荐 上一条 /3 下一条

客服中心 搜索 洽谈合作
返回顶部