立即注册找回密码

QQ登录

只需一步,快速开始

微信登录

微信扫一扫,快速登录

搜索
小桔灯网 门户 资讯中心 市场观察 查看内容

EBV DNA检测市场分析(一)

2023-3-2 10:14| 编辑: 沙糖桔| 查看: 2281| 评论: 0|来源: 贾半仙聊诊断

摘要: 今天就盘盘EBV DNA检测市场。

上海临检中心的王老师分享了上海市可直接备案的120项核酸检测类项目清单:上海市可直接备案的核酸检测类项目清单(截至2023年2月)

这给后疫情时代分子实验室开展哪些项目给了很好的参考,也给我们去看分子诊断产品和分析市场提供了方向。

今天就盘盘EBV DNA检测市场。


EB病毒是一种线状DNA病毒, 主要感染人的淋巴细胞和上皮细胞,90%以上的成 年人都曾感染并终生携带该病毒



02  EBV临床意义


EBV感染后会引起多种疾病,包括急性感染、慢性感染和恶性肿瘤。


1) 传染性单核细胞增多症(IM)


IM是一种急性淋巴组织增生性疾病,多见于青春期初次感染EBV后发病,其临床表现为发热、咽炎、淋巴结炎、脾大、肝功能异常、外周血中单核细胞和异型淋巴细胞大量增多。


普通人群中,IM年发病率约为0.5%。15~24岁之间的青少年和青年人发病率最高,青年人的年发病率为0.9%~4.8%


2)移植后淋巴细胞增殖症(PTLD)


PTLD是实体器官移植或骨髓移植、造血干细胞移植后发生的一种严重并发症,是移植后持续免疫缺陷下发生的一种由增生性到肿瘤性的淋巴系统增殖。


大约80%-90%的PTLD与EBV感染有关,移植患者监测EBV感染至关重要。


EBV特异性抗体检测价值有限;血浆中EBV-DNA载量检测有助于评估PTLD治疗效果。


3) 鼻咽癌


鼻咽癌是与EBV密切相关的一种常见上皮细胞恶性肿瘤。多发生于40岁以上中老年人,我国南方(广东、广西、福建等)及东南亚是鼻咽癌高发区。


鼻咽癌的活检组织可检出EB病毒的DNA及核抗原;其血清中亦含有较高滴度的EB病毒特异的VCA-IgA或EAIgA抗体。


此外,EBV还引起慢性活动性EBV感染(CAEBV)和EBV相关噬血细胞淋巴组织细胞增多症(EBV-HLH)等非肿瘤性重症EBV相关疾病。EBV也是一种致肿瘤病毒,与许多肿瘤的发生相关,如霍奇金淋巴瘤(HL)、非霍奇金淋巴瘤(NHL),胃癌等。



03  EBV检测指标


目前实验室用于检测EB病毒的方法主要是血清学方法和核酸检测(PCR)方法,血清学方法对于EB病毒感染相关疾病的诊断有着重要意义,但是不能监测疾病的发展与转归。


EBV编码多种结构抗原,包括病毒衣壳抗原(VCA)、早期抗原(EA)、膜抗原(MA)、核抗原(NA)等,机体感染EBV后针对不同抗原产生相应抗体,根据其产生的时间可以判断原发感染还是既往感染。


除此之外,VCA-IgA和抗EA-IgA阳性提示持续性EBV抗原刺激,常应用CAEBV和EBV相关肿瘤的诊断和监测。


PCR方法可以直观地反映病毒的存在,灵敏度高,在临床EBV感染性疾病诊断中发挥着重要作用。


不同的检测方法和标本类型都有着不同的临床意义和适用范围,因此对这些方法进行正确的选择非常重要。


相对来讲,EBV的检测指标与相关疾病还是复杂的。我也把一些EBV相关疾病文献及检测诊断标准放在了星球,有兴趣的可以多看看。



04 EBV DNA检测竞争格局


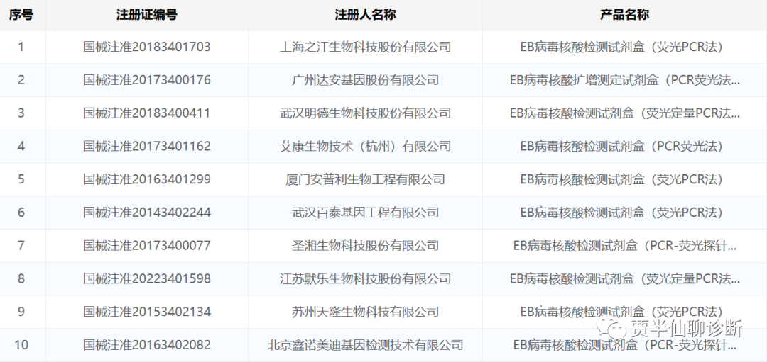
EBV检测产品数量不算多,在NMPA官网输入“EB病毒”展示了86条信息,而PCR产品相对来说就比较少了,只有10条信息,如下:



半仙没查询到各个厂家的销售额或者市场份额数据,从EQA数据侧面可以了解到,市场占比较高的厂家为达安基因和圣湘生物


1)达安基因



产品特点:
  • 操作简便:取材方便,实验操作简单、耗时短
  • 结果精准:仪器自动分析,结果准确、客观
  • 鉴别诊断:与HCMV、HIV、ADV、HBV等无交叉反应,实现病原体鉴别诊断
  • 定量检测:实现早期感染快速诊断,对疾病的早期诊治、疗效监控及预后判断具有重要意义

2)圣湘生物


产品特点
  • 常温化学裂解病毒技术:常温化学裂解样本中的病毒以制备核酸模板,检测灵敏度更高,且有效降低气溶胶等污染风险

  • 定量检测,重复性好:能够定量检测样本中的病毒含量,可重复性好,直接反映患者的感染情况,为疗效评价、预后监测提供可靠的依据

  • 操作简便,污染少:采用领先的一步法核酸快速提取、纯化及扩增操作,简单的操作融汇高效的扩增体系,提高工作效率,减少污染风险

  • 全程的内标监控:内标全程参与样本制备、核酸扩增和荧光检测过程,实时监控假阴性风险,提高检测的可靠性


3)之江生物

产品特点 :
  • 灵敏度高
  • 特异性强:与其他病毒无交叉反应,无非特异性扩增;
  • 操作简便、快速检测
  • 可全自动化

由以上信息可以看出,EBV从某种程度上可以说是最被低估的病毒性疾病。与同行们沟通下来,很多医院也在逐步开展EBV DNA项目,而且有些医院的检测量也在逐步放大。EBV DNA检测可能也是一个有未来的分子诊断项目。


好像还有很多问题没说清楚,EBV DNA检测之前为什么做的不温不火?EBV DNA检测与应用场景和检测对象(适应症)是怎样的?EBV DNA检测又有哪些新的应用?产品形式/业态可以有哪些拓展?下期继续聊。


让我们一点一点死磕分子诊断市场。


声明:
1、凡本网注明“来源:小桔灯网”的所有作品,均为本网合法拥有版权或有权使用的作品,转载需联系授权。
2、凡本网注明“来源:XXX(非小桔灯网)”的作品,均转载自其它媒体,转载目的在于传递更多信息,并不代表本网赞同其观点和对其真实性负责。其版权归原作者所有,如有侵权请联系删除。
3、所有再转载者需自行获得原作者授权并注明来源。

最新评论

关闭

官方推荐 上一条 /3 下一条

客服中心 搜索 洽谈合作
返回顶部