立即注册找回密码

QQ登录

只需一步,快速开始

微信登录

微信扫一扫,快速登录

搜索
小桔灯网 门户 资讯中心 企业杂谈 查看内容

就是这么傲娇!万孚你能咋滴?

2018-9-8 12:22| 编辑: 小桔灯网| 查看: 4253| 评论: 0|来源: 医业观察

摘要: 2018年9月3日上午,万孚生物发布公告,公司将与比利时的创新型分子诊断公司Biocartis联合成立一家香港合资企业,共同推动全自动分子诊断平台Idylla在中国大陆肿瘤领域的商业化应用。万孚生物和Biocartis将分别持有该 ...


201893日上午,万孚生物发布公告,公司将与比利时的创新型分子诊断公司Biocartis联合成立一家香港合资企业,共同推动全自动分子诊断平台Idylla在中国大陆肿瘤领域的商业化应用。万孚生物和Biocartis将分别持有该香港合资公司50%的股份。

                           

对此,星哥在其大作《连中三元 ! AGICUBATE万孚再提比利时Biocartis中对此有非常生动形象的描述:


万孚生物继英国AG,美国ICUBATE后,通过自己的努力再提比利时BiocartisPOCT王者之风尽显,左手AG,剑指赛沛GeneXpert,右手ICUBTE,虎视梅里埃FilmArray,脚踏Biocartis,问鼎伴随诊断。


与三家公司的合作条款星哥也进行了很好的概括:



1AG是投资了1435万英镑,获得13.63%的股权;


2ICUBATE是投资500万美元,持有3%的股权;另外组建中国合资公司,万孚出资520万美元,占股65%ICUBATE出资280万美元,占股35%


3Biocartis为组建中国合资公司,注册资本1400万欧元,万孚和Biocartis分别持有合资公司50%的股份。


这么看的话,三家公司,万孚对所投资公司的控制力是逐步下降的。从AGICUBATEBiocartis,一家比一家强势,一家比一家难搞。



Atlas Genetics公司的IO是虽然将分子检测结合了微流控和电化学两个技术平台,但是只能单项检测,限制了它的应用。


iCubate基于多重PCR技术,可以一次检测多种病原体。从检测通量的角度来看,处于领先的地位。


那这家总部在比利时梅赫伦有着300名员工的Biocartis,却如此傲娇,底气从何而来呢?


凭的就是----基于实时PCR技术的Idylla全自动化POCT分子诊断系统。


2014Idylla系统产品正式上市以来,Biocartis已在超过70个国家与地区销售用于指导肺癌、结直肠癌、黑色素瘤治疗的15个伴随诊断产品,覆盖包括EGFRNRASKRASBRAF等基因中具有明确临床意义的检测位点,并有面向组织样本或液态活检应用的不同版本。


Idylla可以任何地方、如何时间进行检测。它非常已用和快速,可以在加样后150分钟得到结果,人工操作则可以在2分钟内完成。并且可以检测多种样品,DNARNA都能检测,广泛应用与肿瘤和传染病的检测。


相比于iCubate的反应完了还要从处理仪中拿出再放入读数仪的操作,简便多了。

检测流程:


1、扫描测试卡盒


2、扫描样品


3、将样品加入测试卡盒


4、将卡盒插入仪器


    综合来看BiocartisIdylla确实是这三家公司最出彩的。所以说人拽自有道理,嚣张绝非偶然。

 

下面以BRAF基因检测测试卡盒为例,讨论下Idylla的性能。


BRAF基因简介


BRAF基因作为RAF-MEK-ERK信号转导通路中的重要成员,在肿瘤细胞增殖、分化和凋亡等方面发挥重要作用。正常的BRAF蛋白的功能是传递来自细胞膜的信号。BRAF蛋白通常只在需要传递信号时保持活性状态。然而,突变的BRAF则一直保持活性状态,并因此干扰了细胞信号传递链的正常功能,引起细胞的异常。


Idylla BRAF突变检测试剂可以从600个密码子的BRAF基因中同时检测V600E/E2/DV600K/R/M突变型。可以直接检测福尔马林固定石蜡组织切片,得到rt-PCR结果。Idylla具有很高的灵敏度,可以从野生型中检测出1%的突变型。与Illumina MISeq符合率100%,与罗氏Cobas符合率96.79%。性能如下图所示:



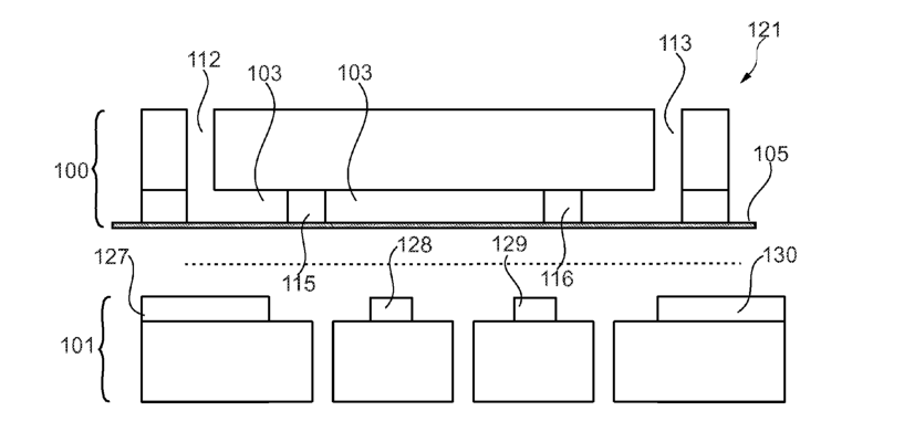
iCubate一样,Idylla的核心也在卡盒上。在卡盒上可以完成液化(针对痰液、粪便、切片等)、裂解、核酸提取、rt-PCR检测。


卡盒中含有弹性膜105,液体104来到三向流道口103仪器气动装置102通过气动通道122123驱动泵108,实现流道的封闭与打开,控制液体104在腔137中的流动。



甚至还含有纯化腔112(参见上图),212(如下图所示),内含有交联葡聚糖 G25对反应液进行纯化。最后进行rt-PCR检测。

 

另外,Biocartis可以将检测仪器叠加起来,提供测试通量。

有学者认为:目前看方法学基本到头,看不到革命性方法学出现,所以就在产品形式、耗材、仪器方面想办法,竞争激烈可见一斑。对此,笔者甚为赞同。


比较上市的分子诊断产品,原理上都差不多。但是试剂的载体却有很大的差别,比如有的是试剂盒、有的是微流控芯片。可以预见,未来的POCT分子诊断将会和更多的技术平台相融合,这样也对IVD公司提出了更高的要求。


2015120日,美国总统奥巴马在国情咨文中提出精准医学计划,希望精准医学可以引领一个医学新时代。此后,分子诊断发展非常迅猛。然而,国内外一些分子诊断公司处却于亏损状态,很多学着认为分子诊断存在不少的泡沫。


目前,国内的POCT的分子诊断的推广还存在政府定价、收费、成本、即时的必要性、临床共识、患者教育等诸多问题,但是各大企业早已争先恐后地扎推入场。这个还没有完全发展成熟的行业,已然一副红海模样。可以想见,激烈的竞争、各种各样的并购重组在不久的将来必将轮番上演,谁能在红海行动中胜出,我们拭目以待。


另外,一些朋友对万孚此次合作不太感冒,认为只是一个国内的代理商而已。的确,万孚此次合作并没占任何股份,似乎确是如此。


但是别忘了,当今国内以代理起家的IVD巨头,难道还少吗?


作者:秋羽

从事IVD研发多年,关注行业技术发展、行业动态。@今日话题

微信号:  loonji

声明:
1、凡本网注明“来源:小桔灯网”的所有作品,均为本网合法拥有版权或有权使用的作品,转载需联系授权。
2、凡本网注明“来源:XXX(非小桔灯网)”的作品,均转载自其它媒体,转载目的在于传递更多信息,并不代表本网赞同其观点和对其真实性负责。其版权归原作者所有,如有侵权请联系删除。
3、所有再转载者需自行获得原作者授权并注明来源。

最新评论

关闭

官方推荐 上一条 /3 下一条

客服中心 搜索 洽谈合作
返回顶部